釜殘溶劑回收固化處理技術
SuoFu Machinery索孚公司根據不同釜殘情況形成的幾種工藝路線和處理方法方案二
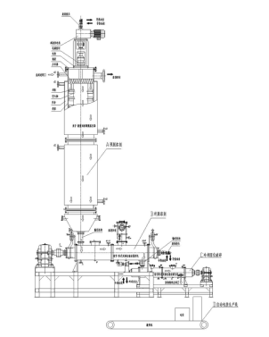
方案2:利用索孚專利產品臥式單自清潔薄膜蒸發器和臥式雙軸自清潔干燥機在高溫330C°以下和真空-0.095MPa左右條件下,回收大部分有用溶劑產品,最終殘留量≤1%,由于此類釜殘焦油和高沸物含量高,即使溶劑產品回收率很高的情況下,物料狀態依然是熔融瀝青狀,因此再將高溫熔融釜殘送入二級臥式雙軸自清潔混合機直接冷卻固化破碎處理,冷卻溫度-5~30C°;(物料特性:最終殘留量≤1%的釜殘在高溫下呈現高粘焦油瀝青狀,高分子聚合物較多,但在常溫下呈現固化易碎脆性的特點,例如:四氯吡啶釜殘,聚乙烯吡絡烷酮(PVP)釜殘中回收二甲基乙酰胺(DMAc),甲酚、苯酚釜殘,3-甲基吡啶,3-氰基吡啶釜殘,二乙基甲苯二胺釜殘處理等等)
![]() |
焦油釜殘處理方案二 |
?
![]() |
![]() |
|
3-甲基吡啶,3-氰基吡啶釜殘處理現場 |
二乙基甲苯二胺釜殘處理裝置現場 |
![]() |
![]() |
|
3-甲基吡啶釜殘冷卻固化破碎出渣情況 |
二乙基甲苯二胺釜殘冷卻固化破碎出渣情況 |
感興趣的朋友想了解詳細工藝路線和裝置可以撥打0571-85228880,13989829118易家馳咨詢







